服务热线
180-5003-0233

本发明涉及无纺布生产技术领域,具体是一种可精准调节的无纺布绿巨人黄色下载。
背景技术:
无纺布(英文名:nonwovenfabric或者nonwovencloth)又称不织布,是由定向的或随机的纤维而构成。因具有布的外观和某些性能而称其为布。
无纺布具有防潮、透气、柔韧、质轻、不助燃、容易分解、无毒无刺激性、色彩丰富、价格低廉、可循环再用等特点。如多采用聚丙烯(pp材质)粒料为原料,经高温熔融、喷丝、铺纲、热压卷取连续一步法生产而成。
在无纺布生产过程中,常需要根据需求对无纺布进行等距分切,因此会用到绿巨人黄色下载,绿巨人黄色下载需要根据不同无纺布宽度需求记性切割刀刀距的调节,现有的绿巨人黄色下载调节机构大都采用相同弹簧实现等距分切,在切割过程中容易产生偏差,稳定性差。
技术实现要素:
本发明的目的在于提供一种可精准调节的无纺布绿巨人黄色下载,以解决上述背景技术中提出的问题。
为实现上述目的,本发明提供如下技术方案:
一种可精准调节的无纺布绿巨人黄色下载,包括工作台、收卷辊、可调节切割结构和放布辊;所述收卷辊和放布辊对称安装在工作台上端且收卷辊的转轴连接于用于驱动收卷辊转动的驱动电机,可调节切割机构设置在工作台的上方且位于所述收卷辊和放布辊之间,所述可调节切割机构包括电机、切割轴和切割刀,电机的输出轴通过联轴器与所述切割轴固定连接,切割刀设置有多个且均匀安装在切割轴上,所述切割轴的内侧设置有调节腔,调节腔的内侧转动安装有与位于切割轴端部的调节手轮固定连接的双向螺纹杆,所述双向螺纹杆上从中间位置向外侧依次设置有两组螺距的螺纹,且贴合中间位置的螺纹间距是外侧螺纹间距的二分之一,中间位置的螺纹和外侧螺纹上分别螺纹连接有与不同切割刀固定连接的第二螺纹套筒和第一螺纹套筒。
作为本发明进一步的方案:还包括设置于调节腔侧壁上的通槽,第二螺纹套筒或第一螺纹套筒通过贯穿通槽的连接块与所述切割刀固定连接。
作为本发明再进一步的方案:所述切割刀包括第一切割刀、第二切割刀和第三切割刀,第三切割刀固定在切割轴的中间位置处,第一切割刀通过连接件与所述第一螺纹套筒固定连接,第二切割刀与所述第二螺纹套筒通过连接件固定连接。
作为本发明再进一步的方案:还包括设置在切割轴上的刻度。
作为本发明再进一步的方案:所述工作台的上端设置有第一导向轮和第二导向轮,第一导向轮和第二导向轮分别位于所述可调节切割机构的两侧端。
作为本发明再进一步的方案:所述收卷辊和第一导向轮之间设置有用于无纺布张紧的张紧轮。
作为本发明再进一步的方案:所述张紧轮的两端转轴转动安装在与所述工作台固定的伸缩套筒上端,伸缩套筒上端活动部外侧套设有弹簧。
与现有技术相比,本发明的有益效果是:本发明设计新颖,通过在双向螺纹杆上设置多段不同螺距的螺纹,实现多组切割刀的等距调节,调节精度高且调节后的稳定性好,其有效解决了现有绿巨人黄色下载采用相同弹簧实现等距分切,在切割过程中容易产生偏差的问题。
附图说明
图1为可精准调节的无纺布绿巨人黄色下载的俯视图。
图2为可精准调节的无纺布绿巨人黄色下载中a-a方向的剖面图。
图3为可精准调节的无纺布绿巨人黄色下载的正视图。
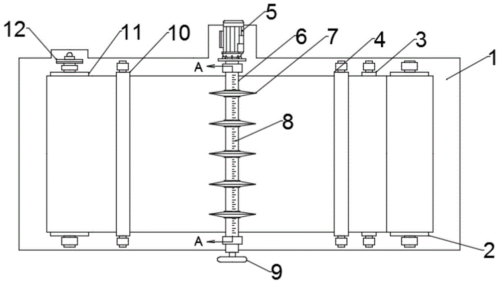
图中:1-工作台、2-收卷辊、3-张紧轮、4-第一导向轮、5-电机、6-切割轴、7-切割刀、701-第一切割刀、702-第二切割刀、703-第三切割刀、8-刻度、9-调节手轮、10-第二导向轮、11-放布辊、12-磨砂盘、13-调节腔、14-通槽、15-双向螺纹杆、16-第一螺纹套筒、17-第二调节套筒、18-弹簧、19-伸缩套筒。
具体实施方式
下面将结合本发明实施例中的附图,对本发明实施例中的技术方案进行清楚、完整地描述,显然,所描述的实施例仅仅是本发明一部分实施例,而不是全部的实施例。基于本发明中的实施例,本领域普通技术人员在没有做出创造性劳动前提下所获得的所有其他实施例,都属于本发明保护的范围。
请参阅图1~3;
实施例一
本发明实施例中,一种可精准调节的无纺布绿巨人黄色下载,包括工作台1、收卷辊2、可调节切割结构和放布辊11;所述收卷辊2和放布辊11对称安装在工作台1上端且收卷辊2的转轴连接于用于驱动收卷辊2转动的驱动电机,可调节切割机构设置在工作台1的上方且位于所述收卷辊2和放布辊11之间,用于无纺布的分切工作,驱动电机驱动收卷辊2转动对无纺布收卷,同时放布辊11在无纺布拉力的作用下发生转动,实现无纺布的输送。
具体来说,所述可调节切割机构包括电机5、切割轴6和切割刀7,电机5的输出轴通过联轴器与所述切割轴6固定连接,切割刀7设置有多个且均匀安装在切割轴6上,电机5驱动切割轴6转动,从而实现切割刀7的转动,进而实现无纺布的切割处理,所述切割轴6的内侧设置有调节腔13,调节腔13的内侧转动安装有与位于切割轴6端部的调节手轮9固定连接的双向螺纹杆15,所述双向螺纹杆15上从中间位置向外侧依次设置有两组螺距的螺纹,且贴合中间位置的螺纹间距是外侧螺纹间距的二分之一,中间位置的螺纹和外侧螺纹上分别螺纹连接有与不同切割刀7固定连接的第二螺纹套筒17和第一螺纹套筒16,为了实现切割刀7的调节,本发明在具体实施过程中还包括设置于调节腔13侧壁上的通槽14,第二螺纹套筒17或第一螺纹套筒16通过贯穿通槽14的连接块与所述切割刀7固定连接。
需说明的是,双向螺纹杆15上也可设置多种不同螺距的螺纹,从而实现多个切割刀的安装,且多组螺纹的螺距从中间位置相外侧依次递增,递增倍数依次为2、3、4....。
为了方便理解,具体的,所述切割刀7包括第一切割刀701、第二切割刀702和第三切割刀703,第三切割刀703固定在切割轴6的中间位置处,第一切割刀通过连接件与所述第一螺纹套筒16固定连接,第二切割刀702与所述第二螺纹套筒17通过连接件固定连接,通过调节手轮9使双向螺纹杆15转动,双向螺纹杆15转动时通过第一螺纹套筒16和第二螺纹套筒17的作用实现第一切割刀701和第二切割刀702的位置调节,进而实现切割刀7之间的等距调节,调节稳定性高,相比现有通过弹簧弹力实现调节的绿巨人黄色下载构,调节精度高且在使用过程中不会发生偏移,切割效果好。
为了增加调节间距的精度,本发明在具体实施过程中,还包括设置在切割轴6上的刻度8。
在切割刀切割过程中,无纺布水平放置是切割的一个重要条件,因此,本发明在具体实施过程中,于所述工作台1的上端设置有第一导向轮4和第二导向轮10,第一导向轮4和第二导向轮10分别位于所述可调节切割机构的两侧端。
实施例二
无纺布在切割过程中需处于张紧状态,因此本发明在具体实施过程中还提出了另一种实施例来完善本申请,具体的,所述收卷辊2和第一导向轮4之间设置有用于无纺布张紧的张紧轮3,张紧轮3的两端转轴转动安装在与所述工作台1固定的伸缩套筒19上端,伸缩套筒19上端活动部外侧套设有弹簧18,通过弹簧18的弹力作用对无纺布进行张紧处理,确保切割的精准性。
需要特别说明的是,本申请中电机为现有技术的应用,通过在双向螺纹杆上设置多段不同螺距的螺纹,实现多组切割刀的等距调节,调节精度高且调节后的稳定性好为本申请的创新点,其有效解决了现有绿巨人黄色下载采用相同弹簧实现等距分切,在切割过程中容易产生偏差的问题。
对于本领域技术人员而言,显然本发明不限于上述示范性实施例的细节,而且在不背离本发明的精神或基本特征的情况下,能够以其他的具体形式实现本发明。因此,无论从哪一点来看,均应将实施例看作是示范性的,而且是非限制性的,本发明的范围由所附权利要求而不是上述说明限定,因此旨在将落在权利要求的等同要件的含义和范围内的所有变化囊括在本发明内。不应将权利要求中的任何附图标记视为限制所涉及的权利要求。
此外,应当理解,虽然本说明书按照实施方式加以描述,但并非每个实施方式仅包含一个独立的技术方案,说明书的这种叙述方式仅仅是为清楚起见,本领域技术人员应当将说明书作为一个整体,各实施例中的技术方案也可以经适当组合,形成本领域技术人员可以理解的其他实施方式。
技术特征:
1.一种可精准调节的无纺布绿巨人黄色下载,包括工作台(1)、收卷辊(2)、可调节切割结构和放布辊(11);所述收卷辊(2)和放布辊(11)对称安装在工作台(1)上端且收卷辊(2)的转轴连接于用于驱动收卷辊(2)转动的驱动电机,可调节切割机构设置在工作台(1)的上方且位于所述收卷辊(2)和放布辊(11)之间,所述可调节切割机构包括电机(5)、切割轴(6)和切割刀(7),电机(5)的输出轴通过联轴器与所述切割轴(6)固定连接,切割刀(7)设置有多个且均匀安装在切割轴(6)上,其特征在于;
所述切割轴(6)的内侧设置有调节腔(13),调节腔(13)的内侧转动安装有与位于切割轴(6)端部的调节手轮(9)固定连接的双向螺纹杆(15),所述双向螺纹杆(15)上从中间位置向外侧依次设置有两组螺距的螺纹,且贴合中间位置的螺纹间距是外侧螺纹间距的二分之一,中间位置的螺纹和外侧螺纹上分别螺纹连接有与不同切割刀(7)固定连接的第二螺纹套筒(17)和第一螺纹套筒(16)。
2.根据权利要求1所述的一种可精准调节的无纺布绿巨人黄色下载,其特征在于,还包括设置于调节腔(13)侧壁上的通槽(14),第二螺纹套筒(17)或第一螺纹套筒(16)通过贯穿通槽(14)的连接块与所述切割刀(7)固定连接。
3.根据权利要求1所述的一种可精准调节的无纺布绿巨人黄色下载,其特征在于,所述切割刀(7)包括第一切割刀(701)、第二切割刀(702)和第三切割刀(703),第三切割刀(703)固定在切割轴(6)的中间位置处,第一切割刀通过连接件与所述第一螺纹套筒(16)固定连接,第二切割刀(702)与所述第二螺纹套筒(17)通过连接件固定连接。
4.根据权利要求1-3任一所述的一种可精准调节的无纺布绿巨人黄色下载,其特征在于,还包括设置在切割轴(6)上的刻度(8)。
5.根据权利要求1所述的一种可精准调节的无纺布绿巨人黄色下载,其特征在于,所述工作台(1)的上端设置有第一导向轮(4)和第二导向轮(10),第一导向轮(4)和第二导向轮(10)分别位于所述可调节切割机构的两侧端。
6.根据权利要求5所述的一种可精准调节的无纺布绿巨人黄色下载,其特征在于,所述收卷辊(2)和第一导向轮(4)之间设置有用于无纺布张紧的张紧轮(3)。
7.根据权利要求6所述的一种可精准调节的无纺布绿巨人黄色下载,其特征在于,所述张紧轮(3)的两端转轴转动安装在与所述工作台(1)固定的伸缩套筒(19)上端,伸缩套筒(19)上端活动部外侧套设有弹簧(18)。
技术总结
本发明涉及无纺布生产技术领域,具体是一种可精准调节的无纺布绿巨人黄色下载,包括工作台、收卷辊、可调节切割结构和放布辊;所述收卷辊和放布辊对称安装在工作台上端且收卷辊的转轴连接于用于驱动收卷辊转动的驱动电机,可调节切割机构设置在工作台的上方且位于所述收卷辊和放布辊之间,所述可调节切割机构包括电机、切割轴和切割刀,所述切割轴的内侧设置有调节腔,所述双向螺纹杆上从中间位置向外侧依次设置有两组螺距的螺纹,且贴合中间位置的螺纹间距是外侧螺纹间距的二分之一。本发明设计新颖,通过在双向螺纹杆上设置多段不同螺距的螺纹,实现多组切割刀的等距调节,调节精度高且调节后的稳定性好。
技术研发人员:不公告发明人
受保护的技术使用者:温州晨曦工艺品有限公司
技术研发日:2020.04.23
技术公布日:2020.08.07