服务热线
180-5003-0233

本实用新型涉及一种绿巨人黄色下载切刀装置,属于机械设备技术领域。
背景技术:
绿巨人黄色下载是一种将宽幅纸张、云母带或薄膜分切成多条窄幅黄色绿巨人网站的机械设备,常用于造纸机械、电线电缆云母带及印刷包装机械,绿巨人黄色下载主要的运用于:云母带、纸张、绝缘黄色绿巨人网站及薄膜分切、特别适宜于窄带(绝缘黄色绿巨人网站、云母带、薄膜等等)的分切, 现有的绿巨人黄色下载往往在放卷与收卷过程中分切的物料在输送过程中不稳定,造成切割质量差,在分切过程中往往产生废屑,需要人力进行清扫,需要工作人员需要实时的关注废屑量,并及时进行清理,而造成工作人员的工作环境变差,增加了人员的劳动强度,费时费力,为此,绿巨人视频免费网提供一种绿巨人黄色下载切刀装置。
技术实现要素:
本实用新型要解决的技术问题克服现有的缺陷,提供一种绿巨人黄色下载切刀装置,增加了皮屑输送带的设计,使得在分切过程产生的废屑能够快速高效输送出去,解决了需要人力实时进行清扫的问题,输送带操作安全,使用简便,维修容易,运费低廉,节省人力物力,利用多组从动轴结构的设计,使得分切过程中输送切割稳定,有利提高分切的质量与工作效率,结构合理,使用可靠,可以有效解决背景技术中的问题。
为了解决上述技术问题,本实用新型提供了如下的技术方案:
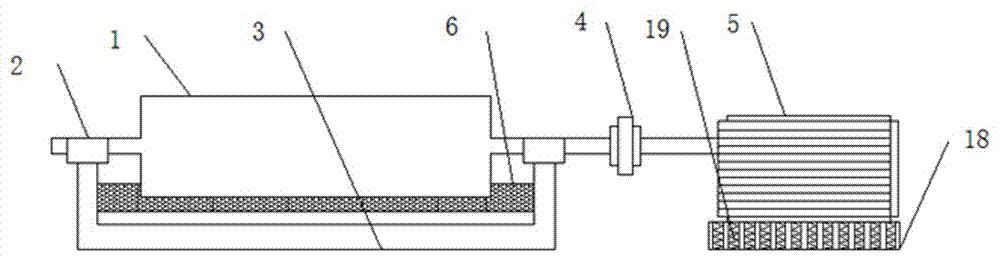
一种绿巨人黄色下载切刀装置,包括收卷辊,所述收卷辊两侧均通过联轴器连接第一支架一端顶部两侧,所述收卷辊上设有第一传动轮,且所述第一传动轮设于所述第一支架外侧,所述收卷辊一端连接变频电机,所述收卷辊一侧斜下方设有第一从动轴,所述第一从动轴斜上方设有第二从动轴,所述第二从动轴一侧斜下方设有第三从动轴,所述第三从动轴外壁设有氟橡胶圈,所述第三从动轴一侧设有刀轴,所述刀轴上设有至少六个切刀,所述刀轴与第三从动轴的正下方设有废屑输送带,所述第一传动轮通过皮带连接第二传动轮,且所述第二传动轮设于所述刀轴一侧,所述刀轴一侧斜上方设有第四从动轴,所述第四从动轴一侧斜下方设有第五从动轴,所述第五从动轴一侧斜上方设有放卷辊,所述放卷辊两侧均通过联轴器连接第一支架另一端顶部两侧,所述放卷辊上设有第三传动轮,且设于所述第一支架外侧,所述第二传动轮通过皮带连接第三传动轮。
进一步而言,所述变频电机底部设有减震底座,所述减震底座内腔设有减震弹簧,所述减震弹簧成阵列分布。
进一步而言,所述废屑输送带两侧通过连接块连接第二支架,所述废屑输送带呈环形结构,所述废屑输送带一侧设有驱动电机。
进一步而言,所述切刀呈等距分布,所述刀轴两侧均通过联轴器连接第一支架中部顶部两侧。
进一步而言,所述第二传动轮为双皮带轮结构。
本实用新型有益效果:本实用新型增加了皮屑输送带的设计,使得在分切过程产生的废屑能够快速高效输送出去,解决了需要人力实时进行清扫的问题,输送带操作安全,使用简便,维修容易,运费低廉,节省人力物力,利用多组从动轴结构的设计,使得分切过程中输送切割稳定,有利提高分切的质量与工作效率,结构合理,使用可靠。
附图说明
附图用来提供对本实用新型的进一步理解,并且构成说明书的一部分,与本实用新型的实施例一起用于解释本实用新型,并不构成对本实用新型的限制。
图1是本实用新型一种绿巨人黄色下载切刀装置俯视图。
图2是本实用新型一种绿巨人黄色下载切刀装置主视图。
图3是本实用新型一种绿巨人黄色下载切刀装置废屑输送带主视图。
图中标号:1、收卷辊;2、联轴器;3、第一支架;4、第一传动轮;5、变频电机;6、第一从动轴;7、第二从动轴;8、第三从动轴;9、刀轴;10、切刀;11、废屑输送带;12、皮带;13、第二传动轮;14、第四从动轴;15、第五从动轴;16、放卷辊;17、第三传动轮;18、减震底座;19、减震弹簧;20、连接块;21、第二支架;22、驱动电机。
具体实施方式
以下结合附图对本实用新型的优选实施例进行说明,应当理解,此处所描述的优选实施例仅用于说明和解释本实用新型,并不用于限定本实用新型。
如图1-图3所示,包括收卷辊1,用于收集分切后的物料,所述收卷辊1两侧均通过联轴器2连接第一支架3一端顶部两侧,作为收卷辊1的连接固定媒介,所述收卷辊1上设有第一传动轮4,用于连接并带动第二传动轮13旋转,且所述第一传动轮4设于所述第一支架3外侧,结构设计合理,所述收卷辊1一端连接变频电机5,为收卷辊1转动提供了动力,所述收卷辊1一侧斜下方设有第一从动轴6,所述第一从动轴6斜上方设有第二从动轴7,第一从动轴6与第二从动轴7均为分切后物料输送提供了导向作用,并使得物料输送过程中输送稳定,所述第二从动轴7一侧斜下方设有第三从动轴8,提供给物料输送导向作用,并且作为氟橡胶圈的支撑媒介,使得切刀10能够稳定高效地分切物料,所述第三从动轴8外壁设有氟橡胶圈,所述第三从动轴8一侧设有刀轴9,作为切刀10的固定媒介,并且带动切刀10进行分切,所述刀轴9上设有至少六个切刀10,可根据实际情况安装切到个数,用于对物料进行分切工作,所述刀轴9与第三从动轴8的正下方设有废屑输送带11,用于对分切过程中产生的废屑进行输送工作,减少人力清扫的步骤,安全方便,所述第一传动轮4通过皮带12连接第二传动轮13,作为第一传动轮4与第二传动轮13的连接媒介,且所述第二传动轮13设于所述刀轴9一侧,所述刀轴9一侧斜上方设有第四从动轴14,所述第四从动轴14一侧斜下方设有第五从动轴15,第四从动轴14与第五从动轴15均为未分切的物料输送提供了导向作用,并使得未分切的物料输送过程中输送稳定,所述第五从动轴15一侧斜上方设有放卷辊16,用于装载待分切的物料,所述放卷辊16两侧均通过联轴器2连接第一支架3另一端顶部两侧,作为放卷辊16的连接固定媒介所述放卷辊16上设有第三传动轮17,为带动放卷辊16旋转的连接媒介,且设于所述第一支架3外侧,所述第二传动轮13通过皮带12连接第三传动轮17,通过第二传动轮13转动驱动第三传动轮17,从而带动放卷辊16旋转。
所述变频电机5底部设有减震底座18,对变频电机5起到减震保护的作用,有利延长变频电机5使用时间,所述减震底座18内腔设有减震弹簧19,所述减震弹簧19成阵列分布,使得减震底座18的受力均匀,提高了减震底座18的减震效果,所述废屑输送带11两侧通过连接块20连接第二支架21,为废屑输送带11提供了支撑固定作用,所述废屑输送带11呈环形结构,结构合理,所述废屑输送带11一侧设有驱动电机22,为废屑输送带11工作提供动力支持,所述切刀10呈等距分布,结构合理,使得分切的尺寸一致,所述刀轴9两侧均通过联轴器2连接第一支架3中部顶部两侧,所述第二传动轮13 为双皮带轮结构,结构设计合理。
本实用新型在使用时,将未分切的物料放置在放卷辊16上,通过变频电机5启动带动收卷辊1旋转,设在收卷辊1上的第一传动轮4通过皮带12带动第二传动轮13转动,第二传动轮13带动刀轴9转动,第二传动轮13利用皮带12带动放卷辊16旋转,物料依次穿过第五从动轴15与第四从动轴14,经刀轴9上的切刀10分切,再经第三从动轴8输送导向,在依次通过第二从动轴7与第一从动轴6输送导向,再然后经收卷辊1收卷,完成分切工作。
以上为本实用新型较佳的实施方式,本实用新型所属领域的技术人员还能够对上述实施方式进行变更和修改,因此,本实用新型并不局限于上述的具体实施方式,凡是本领域技术人员在本实用新型的基础上所作的任何显而易见的改进、替换或变型均属于本实用新型的保护范围。
技术特征:
1.一种绿巨人黄色下载切刀装置,包括收卷辊(1),其特征在于,所述收卷辊(1)两侧均通过联轴器(2)连接第一支架(3)一端顶部两侧,所述收卷辊(1)上设有第一传动轮(4),且所述第一传动轮(4)设于所述第一支架(3)外侧,所述收卷辊(1)一端连接变频电机(5),所述收卷辊(1)一侧斜下方设有第一从动轴(6),所述第一从动轴(6)斜上方设有第二从动轴(7),所述第二从动轴(7)一侧斜下方设有第三从动轴(8),所述第三从动轴(8)外壁设有氟橡胶圈,所述第三从动轴(8)一侧设有刀轴(9),所述刀轴(9)上设有至少六个切刀(10),所述刀轴(9)与第三从动轴(8)的正下方设有废屑输送带(11),所述第一传动轮(4)通过皮带(12)连接第二传动轮(13),且所述第二传动轮(13)设于所述刀轴(9)一侧,所述刀轴(9)一侧斜上方设有第四从动轴(14),所述第四从动轴(14)一侧斜下方设有第五从动轴(15),所述第五从动轴(15)一侧斜上方设有放卷辊(16),所述放卷辊(16)两侧均通过联轴器(2)连接第一支架(3)另一端顶部两侧,所述放卷辊(16)上设有第三传动轮(17),且设于所述第一支架(3)外侧,所述第二传动轮(13)通过皮带(12)连接第三传动轮(17)。
2.根据权利要求1所述一种绿巨人黄色下载切刀装置,其特征在于:所述变频电机(5)底部设有减震底座(18),所述减震底座(18)内腔设有减震弹簧(19),所述减震弹簧(19)成阵列分布。
3.根据权利要求1所述一种绿巨人黄色下载切刀装置,其特征在于:所述废屑输送带(11)两侧通过连接块(20)连接第二支架(21),所述废屑输送带(11)呈环形结构,所述废屑输送带(11)一侧设有驱动电机(22)。
4.根据权利要求1所述一种绿巨人黄色下载切刀装置,其特征在于:所述切刀(10)呈等距分布,所述刀轴(9)两侧均通过联轴器(2)连接第一支架(3)中部顶部两侧。
5.根据权利要求1所述一种绿巨人黄色下载切刀装置,其特征在于:所述第二传动轮(13)为双皮带轮结构。
技术总结
本实用新型涉及一种绿巨人黄色下载切刀装置,收卷辊两侧均通过联轴器连接第一支架一端顶部两侧,收卷辊上设有第一传动轮,收卷辊一端连接变频电机,收卷辊一侧斜下方设有第一从动轴,第一从动轴斜上方设有第二从动轴,第二从动轴一侧斜下方设有第三从动轴,第三从动轴外壁设有氟橡胶圈,第三从动轴一侧设有刀轴,刀轴与第三从动轴的正下方设有废屑输送带,增加了皮屑输送带的设计,使得在分切过程产生的废屑能够快速高效输送出去,解决了需要人力实时进行清扫的问题,输送带操作安全,使用简便,维修容易,运费低廉,节省人力物力,利用多组从动轴结构的设计,使得分切过程中输送切割稳定,有利提高分切的质量与工作效率,结构合理,使用可靠。
技术研发人员:彭春晖
受保护的技术使用者:张家港市阿莱特机械有限公司
文档号码:201720213497
技术研发日:2017.03.07
技术公布日:2017.09.26