服务热线
180-5003-0233

本实用新型涉及包装印刷领域,具体涉及一种薄膜绿巨人黄色下载高速吹边装置。
背景技术:
绿巨人黄色下载是印刷包装行业的辅助机械之一,主要用于把复合膜切成定宽的料;在绿巨人黄色下载分切复合膜的过程中会产生废边,目前采用吹边装置对废边进行处理。
申请号为201020523448.9的专利文稿提供了一种应用于绿巨人黄色下载上的废边料吹边管,其采用在送风管顶面开有进料口,设置导流板从送风管顶面插入至送风管内,令该导流板位于进风口与进料口之间、并沿送风方向倾斜伸至进料口下方的方式。具体利用流体在风筒内高速流动产生的低压,把复合膜分切下来的废边吸入的方式进行吹边。
然而,通常情况下绿巨人黄色下载的吹边装置需要设置至少两个吸边口,在两个吸边口的情况下,由于同一送风管上两个吸边口的互相影响,离风筒近边的吸边口就无法有效地产生负压,会造成风外泄,达不到吸边的目的。且当需要对多个绿巨人黄色下载分切下来的废边进行同时吹边处理时,则需要设置多个吹边装置,需要多个风机,结构复杂、成本高、耗能高,会产生更多的噪音。同时,由于上述缺陷,绿巨人黄色下载的吹边速度只能在200m/min以内,极大地影响了绿巨人黄色下载的吹边效果和生产效率。
技术实现要素:
本实用新型的目的是提供一种薄膜绿巨人黄色下载高速吹边装置,以解决上述背景技术中所提到的问题。
为解决上述技术问题,本实用新型提供一种薄膜绿巨人黄色下载高速吹边装置,其包括风机和与风机出风口连通的多级送风管,送风管的管径由临近风机的一端至远离风机的一端逐级递增;每级送风管上均开设有进料口,且每级送风管内、在临近进料口的位置处均固定有呈倾斜状的挡风板,挡风板沿送风方向倾斜。
进一步地,进料口的边缘上设置有柔性挡件a,通过柔性挡件a减小薄膜边料直接与进料口接触造成的端面摩擦。
进一步地,相临两级送风管之间通过连接件进行连接,且连接件的小口端部与临近风机的一级固接,连接件的广口端部与远离风机的一级固接。
进一步地,小口端部和广口端部的内侧均设置有内螺纹,送风管上设置有与内螺纹相配合的外螺纹结构。
进一步地,挡风板的连接端与送风管上、朝向风机一端的端口内侧固接,挡风板的自由端与进料口的中轴线位于同一竖直线上。
进一步地,挡风板设置为弯弧结构,且弯弧结构的弯弧内侧朝向进料口。
进一步地,挡风板的自由端设置有用于减小摩擦的柔性挡件b。
本实用新型的有益效果为:该薄膜绿巨人黄色下载高速吹边装置结构简单、新颖,设置改装成本低;其送风管采用逐级加大的方式,可避免离风机近边的吸边口无法有效地产生负压,会造成风外泄,达不到吸边的目的这一问题。同时其上设置的挡风板由现有技术中的送风管外插片式改为送风管内固定式,减少了吹边装置的操作步骤和复杂性,确保了送风管吹边效果的稳定性。该薄膜绿巨人黄色下载高速吹边装置通过对其结构的有效改进,可实现使用一台风机即完成多个绿巨人黄色下载分切下来的废边吹边工作,节约了能耗,能够降低吹边工作中的噪音,在实际操作中,吹边速度能达500m/min以上,吹边效果好,作业效率高,是适应工业化高速生产的要求。
附图说明
图1示意性地给出了薄膜绿巨人黄色下载高速吹边装置的结构示意图。
图2示意性地给出了薄膜绿巨人黄色下载高速吹边装置的俯视结构示意图。
图3示意性地给出了薄膜绿巨人黄色下载高速吹边装置的相临两级送分管的连接结构示意图。
图4示意性地给出了薄膜绿巨人黄色下载高速吹边装置的连接件的结构示意图。
图5示意性地给出了薄膜绿巨人黄色下载高速吹边装置的连接管的安装结构示意图。
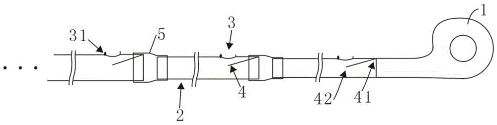
其中:1、风机;2、送风管;3、进料口;31、柔性挡件a;4、挡风板;41、连接端;42、自由端;421、柔性挡件b;5、连接件;51、小口端部;52、广口端部;6、连接管。
具体实施方式
下面将结合本实用新型实施例中的附图,对本实用新型实施例中的技术方案进行清楚、完整地描述,显然,所描述的实施例仅仅是本实用新型一种实施例,而不是全部的实施例。基于本实用新型中的实施例,本领域普通技术人员在没有作出创造性劳动前提下所获得的所有其他实施例,都属于本实用新型的保护范围。
为使本申请的目的、技术方案和优点更加清楚,以下结合附图及具体实施例,对本申请作进一步地详细说明。且为了简单起见,以下内容省略了该技术领域技术人员所知晓的技术常识。
如图1和图2所示,该薄膜绿巨人黄色下载高速吹边装置包括风机1和与风机1出风口连通的多级送风管2,通过送风管2吹送废边。在本设计中,送风管2的管径由临近风机1的一端至远离风机1的一端逐级递增,在每级送风管2上均开设有进料口3,由薄膜绿巨人黄色下载分切下的废边从进料口3处进入至送风管2内部,进而进行吹边工作。
且在每级送风管2内、临近进料口3的位置处均固定有呈倾斜状的挡风板4,同时挡风板4沿送风方向倾斜。在吹边过程中,位于挡风板4下端的流速大于位于挡风板4上端的流速,因此可在挡风板4的上下形成压差,进而能够有效地将临近挡风板4上方进料口3处的废边吸入至送风管2进行吹边。
具体地,启动风机1,使风机1产生的风从送风管2的进风端吹向其出风端处,在挡风板4的作用下,利用压差,把复合膜分切下来的废边采用吸入的方式吸至送风管2内进行吹边。在此,令与右侧风机1连通的送风管2上从右至左依次为一级送风管、二级送风管、三级送风管至n级送风管2,且从右至左管径逐级递增。
在具体实施中,送风管2采用逐级加大的方式,可使位于上一级的送风管2的直径长度略等于下一级送风管2内挡板自由端42与该级送风管2下端之间的距离,从而避免了离风机1近边的吸边口无法有效地产生负压,会造成风外泄,达不到吸边的目的这一问题;其吹边效果好,作业效率高,适应工业化高速生产的要求。
同时,该薄膜绿巨人黄色下载高速吹边装置上的挡风板4由现有技术中的送风管2外插片式改为送风管2内固定式,减少了吹边装置的操作步骤和复杂性,确保了送风管2吹边效果的稳定性。该薄膜绿巨人黄色下载高速吹边装置结构简单、设置成本较低,可实现使用一台风机1即完成多个绿巨人黄色下载分切下来的废边吹边工作,节约了能耗;且能够降低吹边工作中的噪音,在实际操作中,吹边速度能达500m/min以上。
并且,由于将废边吸入至送风管2内进行后续的吹边工作时,废边会持续与进料口3的边缘进行接触摩擦;因此,在实际操作中,还可优选地在进料口3的边缘上设置有柔性挡件a31,使得废边在吸入送风管2内进行吹边工作时,其与柔性挡件a31接触,通过柔性挡件a31减小薄膜边料直接与进料口3接触造成的端面摩擦。具体地,所述柔性挡件a31设置在进料口3上远离所述风机1的一端。
如图1和图4在本实用新型设计中,相临两级送风管2之间通过连接件5进行连接,且连接件5的小口端部51与临近风机1的一级固接,连接件5的广口端部52与远离风机1的一级固接;通过连接件5将管径不同的相临两级送风管2进行连接,以满足送风管2多级设置的需要,进而实现对多个绿巨人黄色下载分切下的废边的同时吹边工作。
具体地,可在小口端部51和广口端部52的内侧均设置有内螺纹,送风管2上设置有与内螺纹相配合的外螺纹结构,采用螺纹连接的方式将相临两级送风管2进行连接,具体连接方式简单牢靠、便于拆卸安装、操作便捷等优点。当然,在此不限制为螺纹连接的方式,还可采用卡接,甚至焊接等固接方式;具体依技术人员根据实际情况而设。
在具体实施中,还可令该薄膜绿巨人黄色下载高速吹边装置的挡风板4的连接端41与送风管2上、朝向风机1一端的端口内侧固接,挡风板4的自由端42与进料口3的中轴线位于同一竖直线上;当风进入下一级管径较大的送风管2时,即可在挡板的作用下完成废边的吸入工作,进而确保吹边效果的稳定。
本实用新型的优选实施例为:如图3所示,该薄膜绿巨人黄色下载高速吹边装置的挡风板4设置为弯弧结构,且弯弧结构的弯弧内侧朝向进料口3。通过对挡风板4结构的设计,使得送风管2内的风在经过挡风板4时,减小了风对挡风板4的直向冲击力,提高了挡风板4的使用寿命。同时可进一步增大挡风板4上下因风速流所形成的压差,使废边能够更好的吸入,无需调大风机1风速,节约了能耗。
在上述的优选实施例中,还可令挡风板4的自由端42设置柔性挡件b421,用于减小废边在送风管2内进行吹边工作时与挡风板4自由端42的接触摩擦,确保吹边的高效。在此,应该说明的是上述中的柔性挡件a31和此处的柔性挡件b421的材质本设计不做限制,只要能够实现减小摩擦作用的材质均可,且本领域技术人员应该知晓的是,且其均在本申请的保护范围之内。
当然,如图5所示,当某一级送风管2需要长距离吹边输送、且在此过程无需吸入其它废边时,可对该级送分管进行分段连接,采用连接管6将多段铜管径的该级送风管2进行连接,以满足输送的长度需求,且安装拆卸便捷。
在以上描述中,对“一个实施例”、“实施例”、“一个示例”、“示例”等等的引用表明如此描述的实施例或示例可以包括特定特征、结构、特性、性质、元素或限度,但并非每个实施例或示例都必然包括特定特征、结构、特性、性质、元素或限度。另外,重复使用短语“根据本申请的一个实施例”虽然有可能是指代相同实施例,但并非必然指代相同的实施例。
对所公开的实施例的上述说明,是本领域专业技术人员能够实现或使用本实用新型。对这些实施例的多种修改对本领域的专业技术人员来说将使显而易见的,本文所定义的一般原理可以在不脱离实用新型的精神或范围的情况下,在其他实施例中实现。因此,本实用新型将不会被限制与本文所示的这些实施例,而是要符合与本文所公开的原理和新颖性特点相一致的最宽的范围。
技术特征:
1.一种薄膜绿巨人黄色下载高速吹边装置,其特征在于:包括风机(1)和与风机(1)出风口连通的多级送风管(2),所述送风管(2)的管径由临近风机(1)的一端至远离风机(1)的一端逐级递增;每级所述送风管(2)上均开设有进料口(3),且每级送风管(2)内、在临近进料口(3)的位置处均固定有呈倾斜状的挡风板(4),所述挡风板(4)沿送风方向倾斜。
2.根据权利要求1所述的薄膜绿巨人黄色下载高速吹边装置,其特征在于:所述进料口(3)的边缘上设置有柔性挡件a(31),通过柔性挡件a(31)减小薄膜边料直接与进料口(3)接触造成的端面摩擦。
3.根据权利要求1所述的薄膜绿巨人黄色下载高速吹边装置,其特征在于:相临两级所述送风管(2)之间通过连接件(5)进行连接,且连接件(5)的小口端部(51)与临近风机(1)的一级固接,连接件(5)的广口端部(52)与远离风机(1)的一级固接。
4.根据权利要求3所述的薄膜绿巨人黄色下载高速吹边装置,其特征在于:所述小口端部(51)和广口端部(52)的内侧均设置有内螺纹,所述送风管(2)上设置有与所述内螺纹相配合的外螺纹结构。
5.根据权利要求1~4任一项所述的薄膜绿巨人黄色下载高速吹边装置,其特征在于:所述挡风板(4)的连接端(41)与送风管(2)上、朝向风机(1)一端的端口内侧固接,所述挡风板(4)的自由端(42)与进料口(3)的中轴线位于同一竖直线上。
6.根据权利要求1所述的薄膜绿巨人黄色下载高速吹边装置,其特征在于:所述挡风板(4)设置为弯弧结构,且弯弧结构的弯弧内侧朝向所述进料口(3)。
7.根据权利要求1所述的薄膜绿巨人黄色下载高速吹边装置,其特征在于:所述挡风板(4)的自由端(42)设置有用于减小摩擦的柔性挡件b(421)。
技术总结
本实用新型公开了一种薄膜绿巨人黄色下载高速吹边装置,其包括风机和与风机出风口连通的多级送风管,送风管的管径由临近风机的一端至远离风机的一端逐级递增;每级送风管上均开设有进料口,且每级送风管内、在临近进料口的位置处均固定有呈倾斜状的挡风板,挡风板沿送风方向倾斜。该薄膜绿巨人黄色下载高速吹边装置改变了挡风板的设置方式,且逐级加大风筒,减少了吹边装置的操作步骤和复杂性,保证吹边效果的稳定性;同时减小了噪音,节约了能耗,吹边效果好,作业效率高,是适应工业化高速生产的要求。
技术研发人员:周家强;黄发德;刘应伟;肖余良
受保护的技术使用者:广汉市金星彩印包装有限公司
技术研发日:2019.09.12
技术公布日:2020.05.26